KH167齒輪減速機詳細信息
KH167齒輪減速機
KH167齒輪減速機重量:
KH167齒輪減速機重量 | KH167齒輪減速機配電機重量 | |||||||||||||
KH167-11KW | KH167-15KW | KH167-18.5KW | KH167-22KW | KH167-30KW | KH167-37KW | KH167-45KW | KH167-55KW | KH167-75KW | KH167-90KW | KH167-110KW | KH167-132KW | KH167-160KW | KH167-200KW | |
1014Kg | 1129Kg | 1149Kg | 1186Kg | 1199Kg | 1267Kg | 1314Kg | 1349Kg | 1434Kg | 1574Kg | 1684Kg | 1934Kg | 2064Kg | 2174Kg | 2254Kg |
KH167齒輪減速機潤滑油:
KH167齒輪減速機規定的加注量為參考值。精確值的變化與級數和傳動比有關。請您在加注潤滑油時要注意油位螺栓所指示的精確油量。后期調整安裝方式時,您必須根據改變后的安裝方式相應調整加注潤滑劑。下表中列出了安裝方式M1-M6的減速器相應的標準參考潤滑油注入量值。
KH167齒輪減速機潤滑油類型 | KH167齒輪減速機不同安裝方式的潤滑油加注量(升) | |||||
M1 | M2 | M3 | M4 | M5 | M6 | |
齒輪油 | 33.00升 | 95.00升 | 105.00升 | 123.00升 | 85.00升 | 84.00升 |
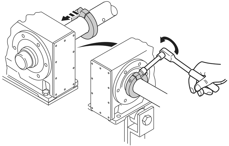
KH167齒輪減速機扭力臂安裝:
清潔用戶軸及空心軸的內面。請確保所有殘留的潤滑脂以及潤滑油均已經徹底清除。將鎖緊環和襯套安裝于用戶軸。在驅動裝置上固定轉矩臂,在襯套上涂上潤滑劑并仔細抹勻。將減速器推入用戶軸。

預安裝轉矩支撐(注意不要將螺栓擰死),將襯套推入至減速器的鎖緊環。

用鎖緊環來固定軸套。請按下表中所列相應的的扭矩值將軸套上的鎖緊環進行夾緊。

| 型號 | 鍍鎳[標準配置] | 不銹鋼 | |
| KT/FT | ST | 扭矩(Nm) | |
| 無 | 37 | 18 | 7.5 |
| 37 | 47 | 18 | 7.5 |
| 47 | 57 | 18 | 7.5 |
| 57,67 | 67 | 35 | 18 |
| 77 | 77 | 35 | 18 |
| 87 | 87 | 35 | 18 |
| 97 | 97 | 35 | 18 |
| 107 | 無 | 38 | 38 |
| 127 | 無 | 65 | 65 |
| 157 | 無 | 150 | 150 |
質量好的KH167齒輪減速機:檢驗項目空心軸減速機
1.KH167齒輪減速機機械性能檢測:振動、噪音異響速比軸跳動外觀型號氣密性;
2.KH167齒輪減速機電器性能檢驗:漏電、電流平穩性空載電流;
3.KH167齒輪減速機裝箱檢驗:減速機配套附件說明書、合格證。直角減速機
KH167齒輪減速機電機驅動器優勢:
KH167齒輪減速機電機驅動器先進的磁通矢量控制算法;高效率的MTPA最優轉矩控制算法;高可靠性的MTPV最優電壓控制算法(弱磁控制|);最高16K的載波頻率,O-400HZ的頻率范圍內低噪音運行;剎車或者反向能量回饋控制,提升車輛使用時間,滿足不同客戶需求;坡道防溜功能,保證車輛坡道行駛的安全性;優異的驅動控制;輸出扭矩和速度的寬范圍工作區域,再生性能完美;內部閉環控制的速度和扭矩模式保證了最佳性能;通過參數設置,調節驅動和制動性能達到最佳效果;速度控制模式提供獨特的性能,保證了速度控制平穩舒適,并在任何工況下都可以積極響應;內置陡坡緩降,油門檔位互鎖功能,轉彎限速等安全功能。豐富的外接口,多路數字輸入、模擬輸入、大電流PWM輸出等;具備電機工作計時、座椅計時、車輛行駛公里計數、歷史告警記錄等功能;高安全性和可靠性;功率部分采用散熱和絕緣性能極佳的鋁基板,提升了控制器的可靠性;安全失效功率器件保護設計;電池正負極接反保護;驅動輸出短路保護;過壓、欠壓、過流、過溫、過載等保護;電機過溫保護,編碼器故障保護;lP65防護等級,滿足惡劣環境的使用要求。
KH167齒輪減速機選型參數:
| KH167齒輪減速機速比 | 1164.5比,134.99比,109.83比,87.86比,78.14比,68.07比,60.74比,51.77比,42.89比,36.61比,32.25比,28.77比,24.52比,20.32比,17.34比。 |
| KH167齒輪減速機輸出轉數 | 8.5轉,10轉,13轉,16轉,18轉,21轉,23轉,27轉,33轉,38轉,43轉,49轉,57轉,69轉,81轉。(以上轉數均為四級電機算出的,可用2P,6P,8P計算,也可以用變頻電機調速,當需要特別低速輸出時,可選擇R系列減速機作為K系列減速機的輸入) |
| KH167齒輪減速機配電機 | 可與單相,直流,變頻,剎車,防爆,伺服,交流,三相電機KH167與11KW,KH167與15KW,KH167與18.5KW,KH167與22KW,KH167與30KW,KH167與37KW,KH167與45KW,KH167與55KW,KH167與75KW,KH167與90KW,KH167與110KW,KH167與132KW,KH167與160KW,KH167與200KW。 |
| KH167齒輪減速機負載扭矩 | 32000N.m。(以上扭矩均為四級電機得出扭矩,需要比上面更大的扭矩,可把電機功率加大,減速機型號加大,或者選擇跟R系列減速機組合使用) |
KH167齒輪減速機銘牌含義:
KH167-BVPEJ18.5KW-4P-93.19-M1-270°
:系列代號
:減速機規格代號
B:電機
VPEJ:變頻剎車電機
18.5KW:電機功率
4P:電機級數
93.19:減速機傳動比
M1:減速機安裝位置
270°:接線盒位置
KH167齒輪減速機電機型號:

推薦類似型號:K167減速機
關鍵詞:空心軸減速機加電機一體化_直角中空減速機_中孔輸出減速機_通孔減速機_KA系列減速機_GKA系列減速機_KA系列減速器_空心軸減速器_直角中空減速器_中孔輸出減速器_通孔減速器
KA系列齒輪減速機型號:KA37減速機,KA47減速機,KA57減速機,KA67減速機,KA77減速機,KA87減速機,KA97減速機,KA107減速機,KA127減速機,KA157減速機,KA167減速機,KA187減速機
KA系列直角減速機可配變頻電機,剎車電機,防爆電機,伺服電機,交流電機,直流電機,三相電機,單相電機 0.12KW-200KW之間
如需工程師幫選型,請加微信13827261050,留言告知工程師參數要求
標簽:   KH167齒輪減速機 KH167減速齒輪箱 KH167減速馬達 KH167齒輪減速機廠家 KH167齒輪減速機生產廠家
- 上一條KH187齒輪減速機
- 下一條KA157齒輪減速機
